Σχέδιο διακόσμησης τοίχου, εσωτερικές ιδέες
Η διακόσμηση τοίχου του σχεδιαστή αυτή τη στιγμή στο δωμάτιο γίνεται με διαφορετικά υλικά. Συνδυάζονται τέλεια μεταξύ τους και έτσι δημιουργούν μια μοναδική ατμόσφαιρα άνεσης και άνεσης στο δωμάτιο.
Το περιεχόμενο του άρθρου
Επιλογές διακόσμησης
Για εσωτερική διακόσμηση μπορεί να χρησιμοποιηθεί οποιοδήποτε μοντέρνο υλικό.
Είναι αρκετά κατάλληλο:
- Ξύλο.
- Φυσικό ή ψεύτικο διαμάντι.
- Πλαίσια ή πλαστικά πάνελ.
- Κεραμικό πλακάκι.
- διακοσμητικό γύψο ή γυψοσανίδα και άλλα υλικά.
Σημείωση.
Κάθε άτομο στη ζωή του προσπαθεί να χρησιμοποιήσει φιλικά προς το περιβάλλον υλικά για να διακοσμήσει το σπίτι του. Για αυτόν τον λόγο, η διακόσμηση τοίχου στο εσωτερικό έγινε πρόσφατα πολύ δημοφιλής.
Ξύλο για εσωτερική διακόσμηση
Αυτό το υλικό δεν είναι μόνο φιλικό προς το περιβάλλον, αλλά και ανθεκτικό. Έχει υψηλή αντοχή και εξαιρετικές ιδιότητες.
Το ξύλο αναπνέει, που σημαίνει ότι μπορεί ελεύθερα να περάσει αέρα. Αντέχει τεράστια φορτία και ταυτόχρονα η δομή του δεν παραμορφώνεται.
Η διακόσμηση τοίχου από ξύλο διακρίνεται από την πρωτοτυπία της.
Σε τέτοια έργα, μπορείτε να χρησιμοποιήσετε:
- Ξύλινη επένδυση.
- Η Eurolining, η οποία διαφέρει από την προηγούμενη από τις μεθόδους σχεδιασμού.
- Επεξεργασμένο αρχείο καταγραφής ή απομίμηση του (block house).
- Συνηθισμένες ξύλινες σανίδες που αντιμετωπίζονται καλά με αντισηπτικούς παράγοντες, αλλά στην επιφάνειά τους σε ορισμένα σημεία έχουν τα ερείπια του φλοιού για τη διακόσμηση του δωματίου.
Τα πλεονεκτήματα του ξύλου στη διακόσμηση
Το ξύλο έχει καλές ιδιότητες και χαρακτηριστικά.
Για διακόσμηση, μπορούν να χρησιμοποιηθούν κωνοφόρα και φυλλοβόλα είδη ορισμένων δέντρων:
- Δρυς.
- Το κόκκινο δέντρο.
- Σημύδα (μαλακό υλικό).
- Φλαμουριά.
- Πεύκο.
- Ελατο.
- Κέδρος και άλλα είδη δέντρων.
Χαρακτηριστικά των υλικών ξύλου:
- Διακόσμηση τοίχου κάτω από το ημερολόγιο πραγματοποιείται από μπλοκ ή απλό φυσικό υλικό. Από τη μία πλευρά, το μπλοκ έχει μια τέλεια επίπεδη επιφάνεια, από την άλλη, σε εμφάνιση που μοιάζει με στρογγυλή δοκό.
- Η τιμή των φυσικών υλικών όπως το ξύλο είναι πολύ υψηλή και αυτό δεν καθιστά δυνατή την εφαρμογή αυτής της μεθόδου διακόσμησης παντού. Πολύ συχνά, το ξύλο χρησιμοποιείται σε συνδυασμό με επιχρισμένους τοίχους.
Φαίνεται υπέροχο με φυσική ή διακοσμητική πέτρα. - Δεν είναι απαραίτητο να διακοσμήσετε όλες τις επιφάνειες σε ένα δωμάτιο με ένα δέντρο. Συχνά υπάρχει ξύλο στο σαλόνι ή τζάκι, ο σχεδιασμός δημιουργεί μια ζεστή ατμόσφαιρα.
Υπόδειξη. Αυτός ο τύπος υλικού δεν πρέπει να χρησιμοποιείται σε χώρους με υψηλή υγρασία αέρα, καθώς είναι σε θέση να απορροφά την υγρασία αρκετά εύκολα παρά την υψηλής ποιότητας και μακρά επεξεργασία του.
- Εάν υπάρχει η επιθυμία να προστατευθεί η επιφάνεια του υλικού από το ξύλο, τότε είναι βερνικωμένο. Δεν θα επιτρέψει στην υγρασία να διεισδύσει στη δομή του ξύλου και έτσι να αυξήσει τη ζωή του.
Τοποθετεί υλικό σε οποιαδήποτε επιφάνεια. Μόνο για αυτό πρέπει να κάνετε μια σειρά προπαρασκευαστικών εργασιών σε αυτό.
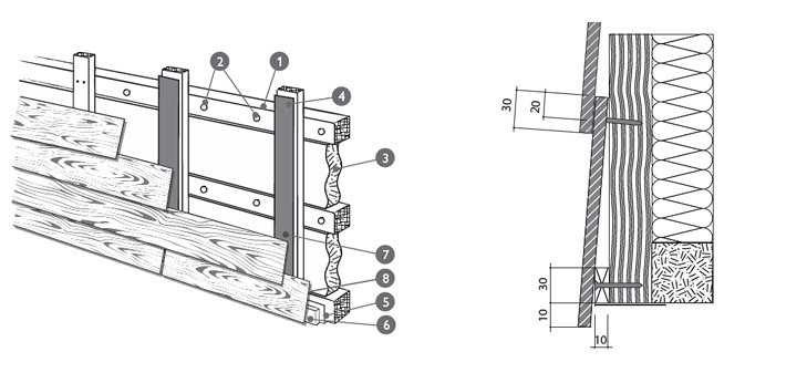
Προετοιμασία επιφανειών για εγκατάσταση υλικών φινιρίσματος ξύλου
Αυτό δεν σημαίνει ότι μπορείτε να τοποθετήσετε ξύλο σε μια απλή επιφάνεια.Αξίζει να ληφθεί υπόψη ότι αυτό το υλικό αναπνέει και γι 'αυτό σε οποιαδήποτε επιφάνεια κατασκευάζεται πηχάκι για αυτό, το οποίο θα δημιουργήσει ένα μαξιλάρι αέρα και θα καταστήσει δυνατή τη χρήση του ξύλου για μεγαλύτερο χρονικό διάστημα.
Για να φτιάξετε το κιβώτιο θα χρειαστείτε:
- Σανίδες από ξύλο ίδιου πάχους.
- Πείροι για τη στερέωση των κύριων οδηγών στην επιφάνεια.
- Σφυρί τρυπάνι.
- Ξύλινες βίδες για στερέωση όλων των στοιχείων αυτού του σχεδιασμού.
- Επίπεδο κατασκευής για ακριβή και ομοιόμορφη κατασκευή του κιβωτίου στην επιφάνεια.
- Πριόνι ή παζλ για κοπή του σωστού μεγέθους.
- Μολύβι και χάρακα.
Εγκατάσταση:
- Πρώτον, κάθετες ξύλινες σανίδες είναι τοποθετημένες στην επιφάνεια με πείρους και γροθιά, οι οποίες θα φέρουν λειτουργία ρουλεμάν.
- Στη συνέχεια συνδέονται οριζόντιες λωρίδες με βίδες και κατσαβίδι, δημιουργώντας έτσι ένα κιβώτιο. Δεν υπάρχει τίποτα περίπλοκο σε αυτόν τον τύπο εργασίας και δεν είναι δύσκολο να εκτελέσετε μόνοι σας όλες τις ενέργειες.
- Μετά από αυτό, το ίδιο το υλικό τοποθετείται στο κιβώτιο. Αυτό μπορεί να γίνει με βίδες αυτοκόλλησης με διακοσμητικά καπέλα ή καρφιά.
- Η επιλογή εξαρτάται από το βάρος του ξύλου.
Υπόδειξη.
Εάν ένα κιβώτιο τελικής επεξεργασίας από ξύλο είναι τοποθετημένο στο κιβώτιο, τότε είναι πιο λογικό να χρησιμοποιείτε βίδες αυτοκόλλησης με μακριά πόδια και μεγάλα καπέλα. Εάν το βάρος του τελειώματος είναι μικρό, τότε μπορείτε να το κάνετε με τα τυπικά μικρά νύχια.
- Κατά τη διάρκεια της τελικής εργασίας με ξύλο, είναι δυνατή η εκτέλεση μόνωση στο σπίτι. Για αυτό, λαμβάνεται ένας θερμαντήρας, ο οποίος παράγεται σε στρώματα και έχει μια μάλλον πυκνή δομή: αφρός πολυστυρενίου, αφρός πολυουρεθάνης, αφρός πολυστυρολίου.
Για να δουλέψετε μαζί τους θα χρειαστείτε:
- Μαχαίρι χαρτικών.
- Χάρακα και μολύβι.
- Κόλλα κατασκευής (εάν είναι απαραίτητο).
Υπόδειξη. Εφαρμόστε οικοδομική κόλλα μόνο εάν το μονωτικό υλικό στα κελιά δεν είναι σφιχτό.
Εφαρμόζεται στην επιφάνεια του τοίχου και στο πίσω μέρος της μόνωσης. Δηλαδή, κολλήστε το στην επιφάνεια.
Εγκατάσταση:
- Όλες οι αποστάσεις μεταξύ της μόνωσης και των κυψελίδων για μεγαλύτερη στεγανότητα του τελικού έργου μπορούν να γεμιστούν με αφρό πολυουρεθάνης, στη συσκευασία του οποίου υπάρχει ειδική οδηγία για τη χρήση.
- Ο αφρός δεν πρέπει να είναι πολύς, αφού μετά την ξήρανση έχει την ικανότητα να διαστέλλεται και να αυξάνει τον όγκο. Τα πλεονάσματά του κόβονται με έναν γραφικό ή συνηθισμένο μαχαίρι κουζίνας.
Υπόδειξη. Τέτοιες ενέργειες πραγματοποιούνται μόνο μία ημέρα μετά την εφαρμογή αφρού. Κατά τη διάρκεια αυτής της περιόδου, το προϊόν έχει ήδη στεγνώσει.
- Αυτοί οι τύποι υλικών είναι πολύ εύκολο να κοπούν και να υποστούν επεξεργασία.
- Χρησιμοποιώντας ένα γραφικό μαχαίρι, κόβονται οι διαστάσεις της μόνωσης, οι οποίες αντιστοιχούν στο μέγεθος των κυψελών του κιβωτίου.
- Τα προκύπτοντα στοιχεία εισάγονται στενά στα κελιά του πλαισίου.
- Αλλά εδώ αξίζει να λάβουμε υπόψη ότι εάν συνεχίζονται οι εργασίες μόνωσης, αυτό σημαίνει ότι το ξύλινο φινίρισμα θα είναι χωρίς το απαραίτητο μαξιλάρι αέρα.
Επομένως, πάνω από το πρώτο κιβώτιο, τοποθετείται ένα δεύτερο του ίδιου μεγέθους χρησιμοποιώντας το ίδιο υλικό και το ίδιο εργαλείο.
Εγκατάσταση φινιρισμάτων ξύλου
Δεδομένου ότι το ξύλο έχει πυκνή δομή σε οποιοδήποτε υλικό φινιρίσματος, η εγκατάστασή του πρέπει να πραγματοποιηθεί χρησιμοποιώντας όλα τα συνήθη εργαλεία.
Έτσι, θα χρειαστείτε:
- Κατσαβίδι και σφυρί.
- Ξύλινες βίδες ή καρφιά.
- Κόλλα κατασκευής.
- Σφραγιστικό.
Εργα:
- Το υλικό είναι τοποθετημένο στο κιβώτιο είτε με βίδες αυτοκόλλησης είτε με καρφιά.
- Αυτή η επιλογή εξαρτάται από το βάρος του ίδιου του υλικού.
- Η κατασκευή κόλλας χρησιμοποιείται μόνο εάν χρησιμοποιούνται διακοσμητικά λεπτά στρώματα ξύλου.
Όλες οι αρθρώσεις του υλικού πρέπει να υποβάλλονται σε επεξεργασία με στεγανωτικό έτσι ώστε η υγρασία να μην πέφτει κάτω από το φινίρισμα. Εξαιτίας αυτού, οι μυκητιακές ασθένειες μπορούν να αρχίσουν να αναπτύσσονται.
Διακοσμητική και φυσική πέτρα στη διακόσμηση του δωματίου
Το τελείωμα των εσωτερικών τοίχων κάτω από την πέτρα άρχισε να βρίσκεται αρκετά συχνά. Φαίνεται πρωτότυπο και μπορεί να δώσει στο δωμάτιο μοναδικότητα και είναι κατασκευασμένο είτε με φυσικό συσσωμάτωμα είτε με τεχνητή πέτρα.
Από τις ιδιότητές τους, αυτοί οι δύο τύποι υλικών δεν έχουν πρακτικά καμία ιδιαίτερη διαφορά. Η κύρια διαφορά είναι η τιμή.
Στο διακοσμητικός βράχος το κόστος είναι αρκετές φορές χαμηλότερο από το φυσικό υλικό. Η εμφάνιση της τεχνητής πέτρας μοιάζει πολύ με το φυσικό υλικό.
Υπάρχουν διάφορες προσομοιώσεις:
- Μάρμαρο
- Γρανίτης
- Αμμόπετρα.
- Όνυχα και άλλο υλικό.
Η χρήση ενός ή άλλου τύπου διακοσμητικής πέτρας εξαρτάται από τη λειτουργικότητα του δωματίου. Ας πούμε ότι οι μαρμάρινοι τοίχοι σε τζάκι ή σαλόνι φαίνονται καλά.
Αν και δεν είναι πολύ ελκυστικό να το χρησιμοποιήσετε στον χώρο ύπνου.
Ιδιότητες τεχνητής πέτρας
Η διακοσμητική πέτρα είναι αξιόπιστη και πρακτική. Η επιφάνειά του δεν απορροφά διάφορους ρύπους και σκόνη.
Είναι σε θέση να αντέξει σημαντικές ακραίες θερμοκρασίες.
Κατασκευασμένα από:
- Γύψος.
- Ακρυλικό
- Συνθετική ουσία.
Η επιφάνεια της τεχνητής πέτρας μπορεί να είναι:
- Ματ
- Λείος.
- Σχισμένο ή ανάγλυφο και ούτω καθεξής.
- Καλύπτονται απαραίτητα με ειδικό προστατευτικό παράγοντα.
- Η εγκατάσταση διακοσμητικής πέτρας είναι πολύ απλή.
Επιφανειακή τεχνητή πέτρα
Η διακόσμηση από πέτρινο τοίχο DIY ξεκινά με την προετοιμασία της επιφάνειας. Πρέπει να είναι ομαλό και καλά καθαρισμένο.
Μπορείτε να ισοπεδώσετε την επιφάνεια με γυψοσανίδα, το οποίο είναι τοποθετημένο σε μεταλλικό πλαίσιο ή με γύψο, το οποίο έχει μια σειρά από εργασίες για την εφαρμογή του.
Σημείωση. Βεβαιωθείτε ότι κάθε τύπος επιφάνειας πρέπει να είναι ασταρωμένο.
Για να εγκαταστήσετε διακοσμητική πέτρα χρειάζεστε:
- Κόλλα ή τσιμεντοκονία.
- Ικανότητα ανάμειξης.
- Κατασκευαστής μίξερ.
- Επίπεδο για να ελέγξετε τη σωστή θέση των πέτρινων πλακών στην επιφάνεια.
- Κόφτης πλακιδίων για κοπή υλικού.
- Διακοσμητικό στόκος για ραφές.
Στάδια:
- Αρχικά, κόλλα ή κονίαμα εφαρμόζεται στην επιφάνεια και πρέπει να δοθεί λίγος χρόνος για να παραμείνει στην επιφάνεια. Το πρώτο στρώμα πρέπει να απορροφηθεί λίγο για μεγαλύτερη αντοχή στο φινίρισμα.
- Επίσης, αυτό το εργαλείο εφαρμόζεται στο πίσω μέρος της πέτρας. Μην το λερώσετε σε ολόκληρη την εσωτερική επιφάνεια του υλικού.
Θα αρκεί να το εφαρμόσετε στο κέντρο, και κατά την εγκατάσταση θα κατανέμεται ομοιόμορφα σε διαφορετικές πλευρές. - Κάθε τέτοιο στοιχείο φινιρίσματος πρέπει να στερεωθεί χρησιμοποιώντας ένα επίπεδο για να εξασφαλιστεί ομοιόμορφη συγκόλληση του υλικού.
- Μπορείτε να τοποθετήσετε μια διακοσμητική πέτρα σε έναν σύνδεσμο ή στην ίδια μικρή απόσταση, η οποία στη συνέχεια θα καλυφθεί με διακοσμητικό στόκο.
Εάν έχετε απορίες σχετικά με την εγκατάσταση τεχνητής πέτρας, μπορείτε να παρακολουθήσετε το βίντεο, το οποίο δείχνει ολόκληρη τη διαδικασία από την αρχή έως την ολοκλήρωσή της.












Κατά το σχεδιασμό του σχεδιασμού της διακόσμησης τοίχου, των εσωτερικών ιδεών, πρώτα απ 'όλα, πρέπει να επιτύχετε μια αρμονική ενότητα των φαντασιώσεων σας, και αυτό μπορεί να είναι δύσκολο.